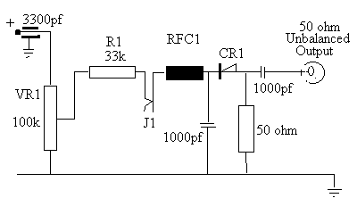
The construction of the noise generator should follow standard VHF techniques, i.e short leads and screened compartment.
The generator requires 100volts supply at 5mA. A 0 -5 mA meter inserted at J1 measures the crystal current. With some germanium diodes it may be found that the noise output first increases and then falls off before rising again with increase of crystal current. This non-linearity will not be a problem as the noise generator is used principally for the qualitave assessment of receiver performance.

It is essential, when a noise factor measurement is to be made, to ensure that the measuring system is linear, as the definition of noise factor is based upon this assumption. The receiver under test may be assumed to be linear for this purpose if doubling the input power produces a corresponding doubling of the output power. This relation may not hold over a wide range of signal levels and settings of the receiver gain controls, but provided that the measurement is carried out at signal levels and gain settings at which the receiver is known to be linear when the conditions imposed by the definition of noise which follows will be satisfied. The noise factor of a linear receiver, or any other four terminal network having its input terminals connected to an impedance of stated value and temperature, is the number of times by which an addition to the noise power available from this impedance must exceed the thermal noise at signal frequency in order to double the noise power available from the output terminals of the network, provided that all sources of noise give the same frequency spectrum at the output terminals.
There are two methods of using the noise generator to measure the noise factor of a receiver. The first is a simple method, involving one measurement only of noise diode anode current while the other involves three such measurements and a little more calculation, but has the advantage of incorporating a linearity check.
Both methods require some form of power measuring device which is connected to the receiver at a suitable point to measure the a.f. noise output. In the event that an a.f.output power meter is not available, a low range a.c. volt meter may be connected across the primary of the receiver output transformer. Alternatively an 0 - 100uA d.c. meter may be placed in series with the earthy end of the detector diode load. A fairly heavily damped meter will assist in reducing the fluctuations observed when reading noise output. It should be remembered that power is proportional to voltage or current squared so that to double the power output when reading in microamperes or volts the meter reading should increase by a factor of 1.4142.
The first method of measuring noise factor, the noise generator is connected to the input terminals of the receiver but not switched on. The i.f and r.f gain controls are adjusted to convenient reading on the output meter. If a d.c microammeter in the detector diode load lead is being used the a.f gain control is ignored and the i.f. gain control adjusted to give a reading of 20 - 40uA. The noise diode is then switched on and the anode current increased until the receiver power output is doubled or the detector current increases by 1.4142 times. The noise factor of the receiver in decibels is given by:
where I is the noise diode current in microamps and R is the value of the noise generator source impedance
The procedure described above is only valid if the receiver is known to be linear over the range of input levels involved in making the measurements. If there is any doubt then the three measurement method should be used as follows:
With the noise generator connected but not switched on the receiver gain is adjusted to give a convenient meter reading, P1, due to its own noise. The noise generator is then switched on and the noise diode anode current adjusted to give a considerable increase in receiver noise output, but not enough to cause saturation.Let this output power be P2 and the noise diode anode current required to produce it i1.The gain is now reduced appreciably, and the noise diode currents i2(usually made to equal to i1 by suitable adjustment of the gain control) and i3reqired to give the original output readings P1 and P2 are determined, and the three values of i substituted in the following formula:
Where R is the noise generator load impedance and i1,i2 and i3 are in milliamps. It should be noted that if i1+i2 is nearly equal to i3, a small error in readings gives a large error in F and this condition should be avoided by making P2/P1 as large as possible.
The equivalent noise temperature of the receiver is given by Tr = (F-1)T0 where F is the numerical value of noise factor and T0 is the equivalent noise temperature of the load resistor, which may be assumed to be be 290deg K (Kdeg = Cdeg + 273). The numerical value of the noise factor F is a ratio and not the figure given in db quoted in manufactures data.In order to substitute for F in the equation for equivalent noise temperature, it is necessary to take the antilogarithm of the quoted noise factor in db divided by 10,
The Germanium Noise Generator cannot be used to measure the absolute value of noise factor, but is very useful as a means of assessing improvements to receiver antenna coupling circuits and r.f. stages. When used in this manner the generator is connected to the receiver and the increase in noise output produced when the generator is turned on is recorded. Next the desired modification is made and the procedure repeated. If after the modification less diode current is required to produce the same increase in noise output from the receiver, then it can be assumed that an improvement in noise factor has resulted. the converse is also true.