Title page

We often receive requests from radio enthusiasts for tips on improving communications receivers. The tips we have collected are for those who wish to gain another level of performance from their receiver that might not normally be available short of purchasing a new receiver. It is impossible to provide information specific to all the receiver types so instead we have provided information specific to the various building blocks common to all receivers.

The comunications receiver can be thought of as a series of building blocks that together comprise a total design. Each part must be looked at individually to determine where improvements are required. Some receivers have poor front ends and excellent audio stages. Others have great front ends but poor audio. Each receiver is unique with its own strengths and weaknesses.
Please be aware the Kiwa Electronics does not assume any responsibility
either direct or consequential for the the following modifications. If
you are unsure about performing any mods, please refer to a qualified
electronic technician.
Please also be aware that there are potentially hazardous or lethal
voltages in all receivers that require AC power/mains for operation.
Never perform any mods with the power cord plugged into the AC socket.
The power plug must always be removed before starting any work. Tube or
valve receivers once turned OFF should sit untouched for a minute or two
to allow the high voltage supply to fully discharge. Check to be sure
that all supplies are discharged completely with a voltmeter. Its better
to be safe than sorry!
Antenna Input
Antennas are an essential part of any receiver setup. A choice of several antennas is desirable since each antenna performs differently across the shortwave spectrum. A good antenna switch is useful for switching, to determine which antenna performs best. A good antenna switch should provide sufficient isolation between the antenna ports. Switches that provide this degree of isolation cost more but are necessary to provide the isolation required. Switches that use a slide switch, toggle switch or a phonelic wafer switch provide the least amount of isolation. These types of switches may not provide sufficient isolation between antennas especially if the antennas differ considerably in performance. For example, a highly directional beverage antenna and a vertical whip antenna have different receiving charactersistics. An antenna switch with poor isolation will blend the two antenna signals together reducing the benefits of either antenna. The better antenna switches provide better than 80 dB isolation which is more than sufficient for listening requirements.
Antenna switching within the receiver should be performed by a high isolation relay. One of the best relays for antenna switching is a reed relay (for receiving only). A reed relay has very little capacitance between the switch elements providing excellent isolation. This type of relay is sealed in a vacuum or is gas filled to provide long term operation. This type of relay will provide better long term performance than a slide switch.
A discussion of antennas is beyond the scope of this paper. Certainly, the antenna is extremely important and the choice of antennas used should be made wisely. Important factors such as frequency range, gain, directionality, and noise level are just a few of the important factors to be considered when choosing antenna types.
Input Filters
Input filters usually follow the antenna input. They perform as a broad-band preselector before the first rf amplifier or first mixer. The input filters are typically low pass for signals below 530 kHz. A band-pass filter is used for the Broadcast Band 500 kHz to 2 MHz. Above the BCB, the bandpass filtering may follow an octave design where the next band covers 2 to 4 MHz, the next 4 to 8 MHz, 8 to 16 MHz, and the last 16 to 30 MHz.
Switching between the filters is usually done by switching diodes, rf pin diodes and relays. The very best receivers use pin diodes or relays. These types are less immune to distortion with high input signal levels. Consumer receivers typically use silicon switching diodes. These could be replaced with pin diodes and some receivers are excellent candidates for rf pin diodes.
To determine if pin diodes could be used, it is first necessary to measure the forward bias current of the existing switch assembly. Carefully lift one of the switching diodes in a filter and measure the forward bias current when that particular filter is energized. If the forward bias current is 10 ma or more then pin diodes can be used.
An example of an excellent rf pin diode is the Hewlett Packard2 HP 5082-3080. This device has an ON resistance of approximately 5 ohms with a forward bias current of 10 ma. The ON resistance approaches 1 ohm with bias currents of 100 ma. If a pin diode can be biased with 10 ma or more, it will exhibit minimal loss in the filter assembly.
Other PIN diodes that are suitable for front end filter switching are the Motorola MPN3700 and the Siemens BAR17. Like the HP 5082-3080, these diodes exhibit minimal loss when forward biased with 10 ma or more and they also exhibit very high immunity to distortion at this current level(1).
Some receivers purposely reduce the sensitivity of the MW Broadcast Band and below. If you notice reduced sensitivity on the lower bands, check the input filter to determine if there are any resistors in the signal path. Icom R70 and R71 receivers (as with many other Icom receivers) purposely reduce low band sensitivity. Normal sensitivity can be restored by removing the resistors (typically a H or T attenuator) and installing a jumper wire allowing the signal to pass through the filter.
RF Amplifier
The purpose of the RF Amplifier is to establish the noise figure within the receiver. The RF Amplifier typically has 10 dB gain and it is most likely the first stage that will undergo distortion from strong input signals.
Some receivers do not have an rf amplifier. Lowe receivers do not have rf amplifiers, or multible bandpass filters at the antenna input. This makes them very prone to overload since there is virtually no filtering to protect the first mixer.
The most common source of signal distortion in the US is from nearby MW broadcast transmitter sites. There are over 5000 AM radio stations in this country and it is not uncommon to live near am AM transmitter site. Distortion products from MW BCB signals will appear in the lower SW frequencies, up to approximately 5 MHz.
Not all the distortion products received on the lower SW bands are generated within the receiver. Some of the signals heard may actually be 2nd (and less common 3rd) order harmonics from the transmitter. A typical AM transmitter that is well designed and maintained will generate 2nd harmonic signals that are 80 dB or more below carrier. This means that a 50 kw signal will generate a 2nd harmonic that is a fraction of a watt. This signal will be amplified due to antenna gain if the station uses a directional antenna system and it can be received if the receiver is nearby. Older transmitters that use tubes are prone to generating higher levels of harmonic energy, especially as the tubes become flat.
Intermodulation distortion or the mixing of two or more signals can occur at AM transmitter sites. This is not uncommon with sites that are in close proximity. It is especially common when two AM transmitters/signals are di-plexed into the same tower. This arrangement requires extensive high power pass/reject filter systems that often are designed to just make the system work at best. As the seasons change and ground conductivity and temperature changes, the level of distortion generated will also change. Di-plexing will become more common in the future. This is a result of deregulation and the fact that ownership of two or more stations in a market is permissable. Owners are not only consolidating studio space but also transmitter sites to reduce operating expenses.
When tuned to such a signal, two or more sources of audio will be heard which will identify which signals are mixing. The easiest way to determine if the signal is generated within the receiver or at a transmitter site is to use a 50 ohm step attenuator between the antenna and receiver. (Note: active antennas should not be used for this test since the source of distortion might well be due to the active antennas pre-amplifier.) A 20 dB attenuator within the receiver can also be used for this test although the best results will occur with a step attenuator providing more than 20 dB of attenuation.
First tune the receiver to a distortion product that is approximately an S9 level or lower. Switch in 20 dB of attenuation and see if the signal drops 20 dB in level. Remember, each S unit is 6 dB (assuming some degree of S-meter accuracy). If the signal reads just under an S6 level, then there is a good chance that the distortion product is generated at the transmitter site. (Distortion products from a transmitter site will follow the step attenuator as more attenuation is switched in.) If it reads considerably less than S6 or goes away, then the distortion is generated within the receiver. Then if possible, turn OFF the RF Amplifier. If the distortion goes away, then the RF Amplifier is most certainly the source of distortion.
RF amplifiers have certainly improved for consumer receivers over the years. On an average, they can handle a much higher signal level but at times they are still prone to overload. Probably the easiest way to reduce or eliminate the distortion products in the lower SW frequencies is to install a BCB - Broadcast Band Rejection Filter between the antenna and the receiver. A good BCB Rejection Filter would exhibit minimal loss (-0.5 dB) within the passband. It would also allow signals to pass in the 160m Amateur band (1.8 to 2.0 MHz) but reject signals below 1.75 MHz to filter the new AM BCB expansion to 1700 kHz. The attenuation curve should drop rapidly from 1.75 MHz with an ultimate rejection of 60 dB or more. The Kiwa BCB Rejection Filter is designed with these parameters and it has solved many difficult if not impossible reception problems. It is also possible to cascade the Kiwa BCB filters (linked in series) to provide 120 dB of attenuation. This provides attenuation beyond the dynamic range of the receiver (typically 90-100 dB) which means that AM BCB signals are not received once the signal is below the noise floor of the receiver.

The BCB Rejection Filter is also an excellent way to determine if the signals heard are generated within the receiver or at a transmitter site. If the distortion signals disappear with the filter installed then they were generated within the receiver. If they are still present, then they are being generated at a transmitter site.
Another reason why a BCB filter is beneficial for any SW listening is because it eliminates the possibility of receiver desensitization. Strong BCB signals are allowed to pass through stages within the receiver which may create distortion. This reduces the receivers sensitivity even when the receiver is tuned to signals much higher in frequency. This is due to the fact that when an amplifier goes into distortion, the gain structure changes. An RF Amplifier with 10 dB gain may exhibit only 2 dB gain when subjected to a very strong signal. The noise floor of the receiver also increases in this condition.
Improvements or redesign of the RF Amplifier itself is difficult because it requires extensive test and measurement equipment to measure ICP3 or Third Order Intercept. This is a measurement of signal overload immunity. The higher the number, the less chance of signal overload. The Drake R8A specifies an ICP3 of +20 dBm with the pre-amp OFF, +10 dBm with the pre-amp engaged.
The Kiwa SW Preamp has an ICP3 of +34 dBm. This preamp can handle signal levels that are typically 20 dB higher then the best receivers. The Kiwa SW Preamp provides 10 dB of gain and also includes the BCB Rejection Filter at the input of the Preamp. The combination of the high ICP3 figure and the BCB Rejection Filter creates a preamp that is virtually immune to any chance of signal overload due to BCB signals. The Kiwa SW Preamp has other features like high and low antenna impedance inputs to match any type of antenna requirements.

The purpose of the RF Amplifier is to amplify weak signals so they can pass through the remaining receiver stages with a minimum of receiver noise added to the signal. How much noise the receiver generates is a merit of Noise Figure. The lower the figure, the quieter the receiver. For example, our measurements of the Drake R8 showed a Noise Figure or NF of 9.5 dB. The Japan Radio measured 12.3 dB. The Noise Figure is established at the front end of the receiver which means the NF is established at the RF preamp (or first mixer if the receiver does not have an RF preamp).
Improvements to the receivers NF can be made if the receivers preamp is replaced with a preamp that has a lower NF. The Kiwa SW Preamp has a NF of <4.0 dB. This is typically much quieter than the preamps used in the best receivers.
An excellent example of how the receivers NF can be improved is with the Lowe HF-150 receiver. This receiver does not have a RF preamp and the receivers NF measures 12.0 dB. By using the Kiwa SW Preamp, the combined NF measures 6.5 dB. The result is an extremely quiet receiver. Similar improvements can be expected, if the receivers RF Preamp can be disengaged and the Kiwa SW Preamp installed at the input.
For example the Drake R8A has a Noise Figure of 12.8 dB with the internal preamp engaged. With the Kiwa SW preamp installed and the ineternal preamp switched out the Noise Figure drops to 9.3 dB. This is a 3.5 dB improvement.
IF Filters
The next place where improvements can be easliy made is at the IF Filters. This is especially true if the IF stage is 455 kHz where an abundance of filter options are available.
There are basically three types of filters available for 455 kHz IF filters providing the selectivity required for high performance . They are crystal, ceramic and mechanical.
The crystal filter is typically the most expensive. They are used for SSB, RTTY and CW bandwidths. They typically exhibit excellent shape factors (-60 to -6 dB BW ratio) and excellent ultimate selectivity or rejection. A typical SSB crystal filter would have a -6 dB BW of 2.4 kHz, a shape factor of 1.5 to 1 and an ultimate rejection of >80 dB. An excellent crystal filter is the FL-44 available from Icom3. This filter is an option for many of their receivers and the performance of this filter is excellent. It is possible to replace the internal ceramic SSB filter used in many receivers with this filter for improved performance. The FL-44 is much too large to fit in the space provided for the original filter, so it is best to mount the FL-44 on a small piece of printed circuit board material with holes drilled for the input and output connections. The filter can then be mounted to a chassis wall. Miniature coax such as RG-174 should be used for the input and output connections from the FL-44 to the pc board. All exposed ends of the coax center conductor should be kept to very short lengths. The filter board should not be mounted towards the front panel of the receiver where frequency readout displays are often a source of interference.
Mechanical filters are also an excellent filter option. Probably the best mechanical filters are made by Collins-Rockwell International4 who originally pioneered the design in the l950s. They presently offer a series of low cost mechanical filters for 455 kHz IFs which are:
526-8634-010 0.5 kHz (-3 dB BW) 526-8635-010 2.5 kHz (-3 dB BW) 526-8636-010 5.5 kHz (-3 dB BW)
These filters are an excellent replacement for ceramic filters since the
input and output impedance requirements are 2k ohms which is typical of
most ceramic filters. It is not uncommon for mechanical filters to
exhibit shape factors of 2.0 but these Collins filters typically have
shape factors of less than 1.8. Several of the 526-8635-010 filters were
measured with the following results:
-6 dB BW = 2.7 kHz
Shape Factor = 1.78 to 1 (-60 to -6 dB BW ratio)
These mechanical filters typically have an ultimate rejection that is
better than crystal and ceramic filters. Ultimate rejection of over 100
dB is not uncommon.
Ceramic filters are the most common type of filters found in consumer receivers. They provide fair to excellent performance depending on the filter specifications. They are also the least expensive. The best ceramic filters will have a shape factor of 1.65 to 1 and the ultimate rejection will exceed 80 dB. Kiwa offers a CLF-D2K filter with these specifications with a -6 dB bandwidth of 3.5 kHz. It is an excellent intermediate filter for the JRC NRD-525/535 receivers where the receiver normally comes with stock 2.4 kHz and 5.5 kHz BW filters.
A poor ceramic filter as found in many portables would have a shape factor approaching 3.0 to 1 with an ultimate rejection in the 40 t0 50 dB range. Replacement of these filters with a good ceramic filter will provide dramatic improvements in selectivity.
Kiwa offers a Standard Filter Module for general filter replacement. These modules are unique in design because they can be used with virtually any receiver with a 455 kHz IF. No impedance matching is required because each filter has an input and output buffer amplifier to isolate the internal filters of the module from the receivers circuitry. Each filter consists of three cascaded ceramic filters for precise filter bandwidth control. Any bandwidth from 3.0 to 8.0 kHz in 0.5 kHz increments is possible. Another advantage of the Filter Modules is that they exhibit zero insertion loss. A typical IF filter exhibits 6 dB loss. The zero insertion loss of the Filter Modules makes them perform like a straight wire connection but with filter characteristics. The Filter Modules typically have shape factors of 1.65 to 1 with an ultimate rejection in the 72-73 dB range.

The Filter Modules come in two types. One is with coax leads. This type is used for filter replacement within the receiver. The input and output coax leads are soldered to the appropriate solder pads on the pc board. A DC voltage is required to power the Filter Module. The same voltage that supplies power to the IF board can be used. In fact, any DC voltage from 6 to 36 volts can be used. Connection of the DC power leads completes the installation and the Filter Module can then be secured to a chassis wall with the supplied velcro.
The other type of Filter Module is with solder pins. This type is designed to mount on the Kiwa FMX Switch Board. The FMX Switch Board is a high isolation diode switch that allows switching between two Filter Modules. The FMX Switch Board comes with a miniature toggle switch that can be mounted on the rear wall of the chassis. The FMX has input and output coax leads which would connect to the appropriate solder pads of an existing filter space in the receiver, similar to the single Filter Module. The FMX also requires a DC voltage for power and the same voltage that supplies power to the IF board can be used. Once the receiver is switched to the filter position assigned to the FMX Switch Board, the toggle switch will select the desired Filter Module.
Kiwa has recently introduced a Premium Filter Module that has improved performance compared to the Standard Filter Module. The Premium Filter Module is very quiet. It will not contribute any measureable noise to low level IF signals. These low IF signals are found in the Lowe receivers and more recently in the AOR AR7030 receiver. It will also work well in the JRC 525/535 receivers.
The Premium Filter Module exhibits exceptional Ultimate Rejection. The filter typically exhibits 105 to 108 dB of Ultimate Rejection. To achieve this performance, each module requires extensive on board shielding and the entire module is housed in a metal enclosure that is solder sealed to provide maximum shielding.
Unlike the Standard Filter Module, the Premium Filter Module does exhibit a nominal 6 dB insertion loss. It must also see a 1.5 to 2 k ohm input and output impedance. This is not a problem when the module is used for replacement. The circuitry designed for ceramic filters (and the new Collins filters) will provide the required impedance match. All that is required is attachment of the input and output coax leads to the appropriate solder pads. Like the Standard Filter Module, the Premium Filter Module is active and requires a DC voltage. Any supply voltage from 4.5 VDC to 15 VDC will suffice. The same voltage that supplies power to the IF board may also supply power to the Premium Filter Module. The Premium Filter Module may be secured to the chassis with the supplied velcro.
Available bandwidths are: 2.5 to 2.7 kHz, 3.1 to 3.3 kHz, 3.7 to 3.9 kHz, 4.0 to 4.3 kHz, 4.4 to 4.7 kHz and 7.3 to 7.7 kHz. Other bandwidths will soon be available.
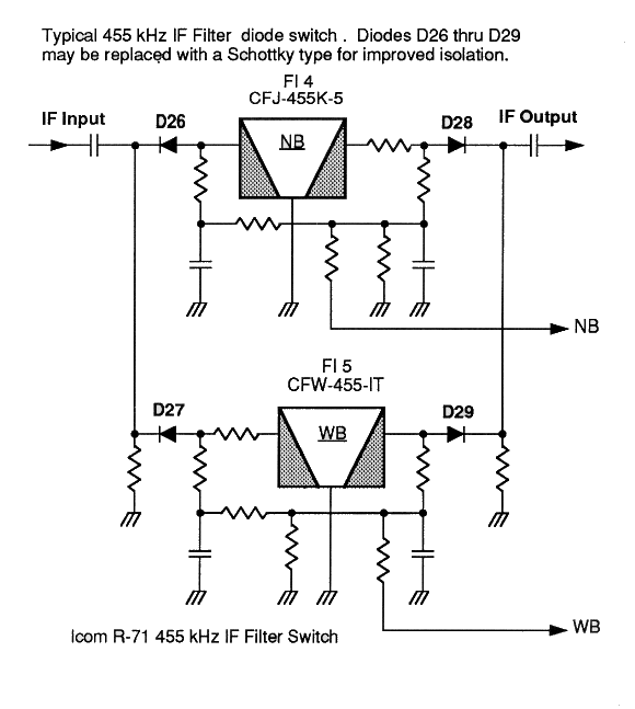
It is important that a high isolation diode switch be used for all filter switching at 455 kHz. A toggle, or rotary switch cannot effectively switch a 455 Khz IF signal. These types of switches exhibit little more than 30 dB isolation and should not be used for direct switching of any IF signal. A good diode switch will exhibit 80 dB isolation between the filter positions.
Most consumer receivers use diode switching for the IF filters. These diodes are silicon switching diodes that perform adequately. Improvements to the filter switch can be made by using schottky diodes. These types exhibit less junction capacitance which means they provide better isolation than the average silicon switching diode. It is not uncommon to see an improvement in isolation of 3 dB or more when using a schottky diode like the SD-101ACT available from Digi-Key5. Other schottky diodes can be used. The important criteria is that the diodes have a junction capacitance of 2.0 pf or less.

There has been problems with signal leakage in some receivers due to the inductors that are used in the filter switch. This has become evident with some JRC NRD-525/535 receivers. The result is less ultimate rejection. Improvements can be made by replacing the inductors with known types that do not exhibit leakage. One such inductor type are the 7BA types from TOKO which are available from Digi-Key5. Inductors with shielded ferrite cover caps are also excellent but they are more difficult to obtain. An alternative would be to hand wind the required inductance on a ferrite toroid or balun core. It is interesting to note that Lowe with their HF-225E uses inductors with ferrite shields which are not used in the standard HF-225 model.
Some Kenwood receivers use electrolytic capacitors within the filter switch for de-coupling. If the capacitor value is 1.0 uf or less, then it is best to replace the electrolytic cap with a miniature polyester type such as the Panasonic V-series available from Digi-Key. The WIMA MKS-3 is also an excellent capacitor which is available in Europe. These exhibit much better filtering at 455 kHz than the standard electrolytic capacitor. If the value is higher than 1.0 uf, then it is best to replace the electrolytic capacitor with a bi-polar electrolytic type such as the Panasonic Bi-Polar electrolytic capacitor available from Digi-Key. Bi-polar types will exhibit better high frequency filter characteristics compared to the standard electrolytic capacitor.
AM Detector
The typical AM detector used for many years has been the germanium diode. This type is an envelope detector which will exhibit severe distortion when a signal fades and the balance between the carrier and sidebands is upset. A move toward synchronous detector types has helped eliminate this type of distortion. Many receivers now have synchronous detection and some like the Sony ICF 2010/2001D or Lowe HF-150 allow selection of either the upper or lower sideband while in the synchronous mode. This is very useful, especially if one sideband is plagued with interference.
The obvious solution to an envelope detector is to replace it with a synchronous type. Many companies have provided add-on synchronous detectors over the years including Kiwa. Our first product (now discontinued) was a synchronous detector called the MAP, which provided additional IF filtering, post detection audio filtering and it also included a monitor amp and speaker. At the present, the only company providing an outbard synchronous detector is Sherwood Engineering 6.
Not all synchronous detectors perform the same. Some do exceptionally well under a variety of signal conditions, other types do poorly especially when the signal starts to fade into the noise. The PLL or phase locked loop types can be particularly troublesome when the carrier signal is noise modulated. It may at times lose lock creating a howl and a Donald Duck voice to the audio. There is not a simple solution to this type of problem short of redesigning the detector.
Audio Improvements
Audio improvements are probably not a consideration if the receiver is used for decoding CW or RTTY type signals. But it is an important consideration for any other type of signal where one has to listen. Improvements to audio clarity and noise level will certainly make the listening more intelligible but also more enjoyable especially when listening for long periods. This is true when listening with wide bandwidths as well as with narrow bandwidths.
Communication receivers as a whole have been notorious for bad audio. There are exceptions and a few manufacturers like Drake, Lowe and the new AR7030 have taken special care with the audio path to provide the best audio as possible.
There are many tips that can be used within the audio path to improve the audio quality that are common knowledge to those who work with audio-phile broadcast and recording equipment. These tips should be performed from the point of detection to the speaker output. It is important to point out that the improvements are cumulative. Replacing one capacitor will not make much difference, but replacing ten capacitors will make a noticeable difference.
The type of solder is important. All soldering should be done with 2% silver solder or better yet, 4% silver solder. Radio Shack sells a 2% silver solder which is excellent. It is important to remove all the old solder from the solder pad when removing components. A good solder wick or hand vacuum pump is essential for this type of work.
All capacitors from the point of detection to the speaker output should be examined. All ceramic capacitors within the audio path (from disc to SMT types) should be replaced with a polyester type such as the Panasonic V or B series (available from Digi-Key) or WIMA MKS-3 types. Low pf values (less than 10,000pf) could also be replaced by polystyrene types (available from Mouser7). Ceramic capacitors, especially the general purpose disc capacitor types are notorius for creating bad audio. Probably the best description as to what they do to the audio is that they create a smearing sound which reduces the overall clarity to the audio quality. The polyester types are much more transparent and they will improve the audio quality.
It is important to point out that polyester capacitors are not necessarily the best sounding capacitors although they sound much better than the types commonly found in receivers. I have recommended them here because they are ubiquitous. Other capacitor types that sound good are polycarbonate, polypropylene, polystyrene and teflon. Some of these types require more space than their equivalent value in polyester.
Teflon capacitors are extremely expensive. Teflon, polypropylene and polycarbonate capacitors are more esoteric and difficult to obtain and are used in the best professional audio equipment where money is not an issue.
Ceramic capacitors in any tone control circuitry need to be replaced with a polystyrene or polyester type. Mica (silver mica types are OK) and paper capacitors used in the audio section of old tube receivers should be replaced with the Panasonic ECQ types that have a working voltage of 630 volts (available form Digi-Key5) or the WIMA MKS-4 types with a suitable working voltage or the old Sprague Vitamin Q types. Paper capacitors in old tube gear are very prone to failure. They are used for DC bypass and in the RF/IF signal path and they should be replaced with a polyester type like the Panasonic ECQ. It is interesting to note that the Sprague Vitamin Q capacitor is one of the few paper capacitors that doesnŐt fail, and it sounds great in tube equipment.
Electrolytic capacitors in the audio path with a value of l uf or less should be replaced with the Panasonic V series or the WIMA MKS-3 types. Values higher than 1 uf should be replaced with a Bi-polar type like the Panasonic Bi-polar available from Digi-Key5. All electrolytic capacitors associated with the power amplifier should be replaced with a Bi-polar type. Be sure that the Bi-polar cap has the same voltage rating as the electrolytic cap being replaced. NOTE: the nice thing about using Bi-polar electrolytic capacitors is that they do not have any polarity. You do not have to worry which way is positive or negative. Just put them in any which way and it will be correct! Bi-polar capacitors are sometimes called a non-polar type.
The electrolytic capacitor feeding the speaker from the power amplifier should be carefully examined. Replace it with a Bi-polar type that has the largest uf possible to fit the space available on the pc board. If for example, the circuit uses a 470 uf capacitor, replace it with a 1000 uf Bi-polar if space permits. Replacing this capacitor with a Bi-polar type will make a noticeable improvement in audio quality. This capacitor is a must for replacement.
Another useful tip that will improve the audio clarity is to provide additional decoupling at the point where the DC voltage feeds the audio power amp. A large polyester capacitor (approaching 1uf) is installed between the DC voltage and ground. This technique will improve the audio for both solid state and tube type amplifiers.
Improvements in audio quality can also be made at the IF level. This is especially true with IFs of 455 kHz and lower where replacing the IF coupling capacitors with a polyester type like the Panasonic V-series capacitor will help improve overall audio clarity. These capacitors should not be used for any IF above 10 MHz due to stray inductance in their construction.
The DC rails or DC voltages feeding the audio circuitry should be treated as if they were an audio signal path. (They essentially are part of the signal path since they supply the electrons as required.) Ceramic DC bypass capacitors should be replaced with polyester types. Electrolytic capacitors used for DC bypass can be replaced with Bi-polar types or with low impedance electrolytic types such as the Panasonic HF or HFS types (available from Digi-Key5). Other maufacturer types can be used as long as they specify that it is a low impedance type electrolytic capacitor.
High definition speaker wire and gold plated connectors are recommended for any remote speaker connection. High definition speaker wire and gold plated connectors are now readily available in HI-FI Stereo stores.
Many receivers have a small speaker mounted on top of the receiver pointing upwards. This makes listening difficult. A simple improvement can be made by simply placing a 90ˇ (right angle) length of 3 to 4 inch diameter plastic plumbing pipe on top of the receiver pointed towards the front of the receiver. High frequency attenuation can be achieved by installing a piece of 2 inch thick foam pad to tightly fit the inside diameter of the pipe. (The thicker the foam material the more high frequency attenuation) A right angle plastic pipe used for rain gutters can also be used. The end effect is that the right angle pipe redirects the sound outwards to the front of the receiver and the foam acts as a high frequency acoustic muffler.
A better solution (acoustically and esthetically) would be to use a remote speaker that suits the listeners requirements. Smaller speakers are generally better, especially if they can be placed close to the operator as a near field monitor. They are also generally more efficient which is a consideration since most power amplifiers seldom deliver more than one watt.
A remote speaker like a mini-monitor used for stereo hi-fi systems will generally provide the best sound. These types have a fairly flat frequency response which helps prevent response anomalies to occur with the received audio. Many listeners have reported good results with the Radio Shack Minimus 7 speakers. Other speaker types available for muiti-media computer systems may also work well.
It is important to remember that the receivers audio is certainly not flat, and the MW and SW broadcasters process their audio with a response that varies with frequency. The end result is that the listening response changes depending on the receiver bandwidth and how the radio station processes their audio. What may sound good on MW may sound strident for SW. A remote speaker should be chosen to sound good for all types of listening requirements.
A remote speaker and amplifier combination may be useful when the listener desires to use a large speaker and /or the receivers speaker amp is particularly noisy or lacks audio quality. It also provides the possiblity to use outboard audio enhancements. Connection to the record output of the receiver will generally provide better fidelity than the headphone output.
Resistors are also a source of low level audio distortion. Improvements in audio clarity can be achieved by replacing the resistors with metal film types in the audio signal path. These types are typically 1% or 2% tolerance and are much more stable with temperature. They come in a variety of wattages and are also available in SMT. Both Digi-Key5 and Mouser7 stock metal film resistors. Precision resistors often do not match the specified values of standard 5% tolerance resistors. For instance, a 2.2k ohm 5% resistor can be replaced with a 2.21k ohm 1% resistor.
Older tube gear used carbon composition resistors. These types have poor temperature stability and have a grainy sound that is characteristic to the resistors construction. (Carbon composition resistors are made of clay and carbon.) Carbon composition resistors from the detector to audio output should be replaced with metal film types. Solid state receivers typically use carbon film resistors. These resistors do not sound as bad as the carbon composition type and some improvement in audio clarity can be achieved by replacing them with metal film resistors.
AC Line Induced Hum and Noise
The AC power source can often be a source of noise and interference. AC induced noise is becoming more of a problem as more sources of noise (computers, light dimmers, etc.) become common place.
Portable receivers often provide the option to be AC powered when not using batteries. An AC adaptor plugs into the wall socket and the output of the adaptor is usually low voltage AC or DC. The AC line by way of the power cord can act as an antenna to the receiver. This may create problems since the AC line is a source of many types of electrical noise. There is a simple way to check if the AC line is acting as an antenna. Tune the receiver to a fairly weak, steady SW signal using the AC adaptor as the power source. Unplug the power cord from the receiver so it will return to battery power. If the signal diminishes in signal strength, then the AC line is acting as an antenna.
The problem can be reduced by winding the power cord 6-10 times through a toroidal core allowing 2-4 inches of exposed cable to plug into the receiver. This helps isolate the power cord from the receiver reducing the antenna effect. A suitable toroid is the T130-26 available from Amidon, Inc8.
Noises from the AC line can be isolated in a similar fashion with table top receivers. A DC power source such as a car battery is provided for the table top receiver. The AC power cord is removed from the line so the receiver is battery operated. If the noise diminishes with battery power then the AC line is most likely the source of the problem. Electronic parts dealers and even computer stores now sell snap together toroidal cores for the AC power cord. The cord is wound as many times as possible through the core before it is snapped together. This may help diminish electrical noise. Another possible solution is to power the receiver from an AC outlet strip that has RF filtering built in. Several types of RF line filters are available from Digi-Key5 if you wish to add or build your own.
AC hum loops can also be a source of noise that will interfere with reception. Hum loops (or ground loops) can be created in a variety of ways. One way is by the antenna. If a long wire runs near an AC power line, the AC signal is induced into the antenna wire. The AC signal enters the receiver by way of the antenna, passes through the receiver to the AC line. The result is a loop from the antenna to the ac line and back again, creating a hum in the background of a received signal. An obvious solution is keep the antenna as far away as possible from the AC source. Another solution is to modify or change the type of antenna. For instance, the problem may be due to the lead-in as it comes close to house wiring or it may require a different type of antenna that is less prone to receiving the AC induced signal. Another way to break the hum loop is to power the receiver by battery.
AC hum/ground loops can also occur when several pieces of equipment interconnect and are AC powered. These loops seem to be more prone with equipment that are powered by plug-in the wall AC adaptors. It may help to reverse the polarity of one of the AC adaptors by physically reversing the way it plugs into the AC source. Another solution may be to power all the equipment with one adaptor if the pieces of equipment all require the same supply voltage. For instance, lets suppose the receiver requires 12 VAC @ 300 ma. An outboard preselector requires 12 VAC at 100ma. An AC adaptor suitable for powering both pieces of equipment would provide a minimum of 12 VAC @ 400 ma. The hum loop might also be broken by powering one device by battery.
If the receiver is plagued by an annoying interference that is particularly bothersome, then it may require some detective work. A portable receiver will help track down the location of many types of interference. The portable should be tuned to the MW band or lower which will activate the internal ferrite rod antenna. This type of antenna has directional characteristics which will help find the location of the interference. Tune the receiver to a frequency where the noise can be clearly heard. Slowly rotate the receiver until the noise is reduced or goes away. This is a null location. Hold the receiver at the null location. The direction of the noise source is then along a line parallel to the plane of the receiver (parallel to the front panel). (Mentally draw a line to the left and right of the receiver parallel to the the front panel to a distant object.) The noise source may be to the left or right of the receiver at this location. Now, rotate the receiver 90ˇ and walk the receiver along the line established at the null location. You are coming closer to the source if the noise increases in signal strength. If it diminishes in signal strength, then you are going away from the noise source.
 for
operation and this voltage is created by a switching power supply that is
rich in harmonic energy. A signal rich in harmonic energy will radiate
interference appearing at specific intervals across the MW and SW
spectrum.
<p>
The solution is to replace the switching power supply with a type that is
quiet and does
not create interference. Different displays require different voltages so
it is first important to determine what the required voltage is to operate
the display. The voltage can be measured with a voltmeter at the output
of the switching supply as it feeds the display.
<p>
The following schematic is a zener regulated DC supply using a 115/230
VAC isolation transformer. This supply is noise free and suitable for
florescent displays. It is important that Zener diodes Z1 and Z2 add
together to equal the required voltage operating the florescent display.
A match within 10% of the actual voltage is adequate.
<p><center><img src=)
For example, suppose that the voltage required in the receiver to operate the florescent display is 105 VDC. Z1 should be a 30 volt zener diode or 1N4751. (30 VDC from Z1 + 75 VDC from Z2 = 105 VDC) Z2 does not have to be a 75 volt zener. It could be a different value. For example, three 36 volt zeners could be used (three stacked in series) to equal 108 volts.
The zener DC supply should first be built and tested on the bench. Then the original supply must be turned OFF. This is best accomplished by removing the DC voltage that supplies the switching transistors. The connection from the switching supply to the display must be broken and the replacement supply +V installed to supply voltage to the display. Measure the voltage once again as it now feeds the display. Change Z1 as required. The isolation transformer should be mounted within the receiver on a vectorboard or similar insulated perf board.
It is important to note that this supply will not work when the receiver is battery operated. If you wish to battery operate the receiver then a switch could be installed to disable the zener DC supply from the display and at the same time turn ON the original while making the necessary connection to the display. A DPDT switch can provide this function.
References
1 Tom Thompson W0IVJ, Exploring Intermodulation Distortion in RF Switching and Tuning Diodes, QST December 1994, pp 25-27
2 Hewlett Packard, Communications Components - GaAs & Silicon Products Designers Catalog, 1993
3 Icom America Inc., 2380 - 116th Ave. N.E., Bellevue, WA 98004 Tele: (206) 450-6088 http;//www.icomamerica.com
4 Collins - Rockwell Intl., Filter Products, 2990 Airway Ave., Costa Mesa, CA 92626 Tele: (714) 540-7640 FAX (714) 641-5320
5 Digi-Key Corp., 701 Brooks Ave. South, Thief River Falls, MN 56701, Tele: 800-344-5439 FAX (218) 681-3380 http://www.digikey.com
6 Sherwood Engineering, 1268 So. Ogden St., Denver CO 80210
7 Mouser Electronics 800-346-6873
Mouser West 11433 Woodside Ave. Santee, CA 92071 Tele: 619-449-2222
Mouser Central 958 No. Main St. Mansfield, TX 76063 Tele: 817-483-4422
Mouser East l2 Emery Ave. Randolph, NJ 07869 Tele: 201-328-3322
8 Amidon Inc.,3122 Alpine Ave., Sanata Ana CA 92704 Tele: (714) 850-4660 FAX (714) 850-1163


Title page